PC单机游戏资源下载网站
当前位置 > 首页 > 文章列表 > 正文

v新VR头显设备专利曝光或将与Quest竞争

2022-06-22 00:22     来源 : 九狸游戏     编辑 : 九狸     浏览量 : 214

Valve公司向美国专利商标局提交了一项新专利,展示了一款传闻中的新VR设备的摘要和蓝图,该设备类似于MetaQuest和Quest2。

V社新VR头显设备专利曝光 或将与Quest竞争

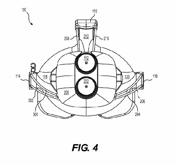
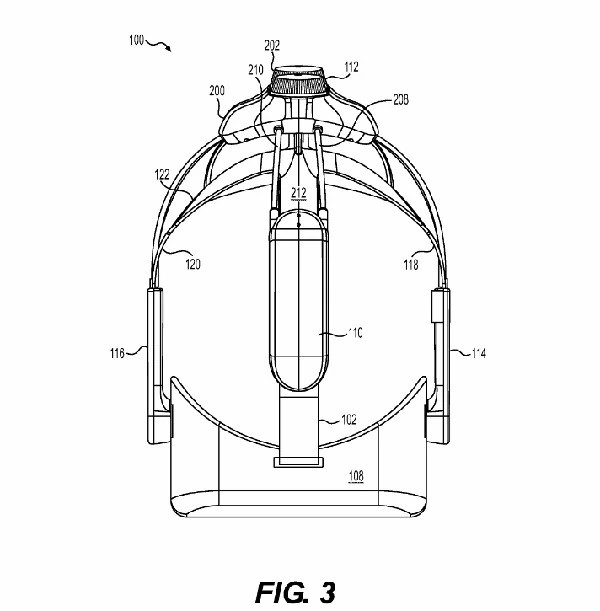
该专利于2021年12月提交,2022年6月16日公布。这份53页的文件包括一份摘要,其中描述了耳机组件的物理产品和图像。这款产品没有命名,但它的标题是“头戴式显示器”。

摘要将这款产品描述为“前部有展示盒,后部有后壳”。最前面的构件在前部和后部之间延伸,并且由最前面的可旋转致动器和最前面的布线机构调节。

与大多数专利一样,专利摘要更像是打印的蓝图,而不是产品本身的描述,但这些图片可能会暗示Valve将推出的新款VR头盔的外观。

专利图片:

V社新VR头显设备专利曝光 或将与Quest竞争

V社新VR头显设备专利曝光 或将与Quest竞争

V社新VR头显设备专利曝光 或将与Quest竞争

V社新VR头显设备专利曝光 或将与Quest竞争

V社新VR头显设备专利曝光 或将与Quest竞争

2019年,Valve发布了其最新的VR设备“Index”,而长期以来一直传言该公司正在开发另一款设备,一款代号为“Deckard”的独立VR设备,将与MetaQuest和Quest2竞争。

拥有专利并不代表产品一定会发布,但我们可以推断Valve的新VR设备可能正在研发中。

热点资讯
  • 人气女B新游戏《终远的威尔修-ErroR:salvation-》主要人物介绍
  • 《使命召唤:战争地带2.0》常见问题的解决方案
  • 史泰龙主演美剧《塔尔萨之王》确认续订第二季。
  • 《公主与秽欲的献祭》已正式在STEAM平台上市!
  • 八方旅人2阵组合推荐,岐路旅人2最强职业组合攻略
  • 18岁的西班牙青年因有元宇宙犯罪而被捕的罪名随处可见
  • 交配3D动作RPG新作《怪兽宇宙》1月在线
  • 不买RTX3080的三大理由:性能过剩,矿卡太多,没钱买。
  • 《同级生Remake》评测:寻找重新拼凑的经典
  • RTX4090浮点运算性能首次突破100万亿次。
  • 漫画《式守同学不只可爱而已》终于完结星期六最后一章
  • 《建筑模拟器》新作于2022年9月20日公开发售。
  • 《明末:渊虚之羽》外媒评论:战斗令人惊叹,但叙述却沉闷
  • 游戏启动出错
  • Topic《按摩狂》重命名为《beat refle》第一个登录Steam
  • 运行环境问题
  • 轻小说《为了在异世界也能摸毛茸茸而努力》动画发表
  • 哔哩哔哩电视大会员更名为超级大会员。每月35元支持多平台。
  • 伊藤润二新短篇集《幻怪地带》第二季将于12月7日上映。
  • 《热血街区电影版:极恶王续篇》公告将于9月9日在日本发布。
  • 游戏联机问题
  • 工程师玩家打造迷你乐高版电脑,精致小巧,可玩性强。
  • 解压出现错误
  • 《大多数》因游戏官方疑似被封,官方讨论组被关闭。
  • 《进化Stage2》服务器几年后突然无缘无故重新上线。
  • 18禁游戏《魅魔》发布夏季更新和比基尼DLC
  • 《机战30》评测:夹缝里找乳摇,我们老了还是机战老了?
  • 几款EA游戏不能在SteamDeck上运行,修复很快就来了。
  • 吃鸡游戏《超级人类》宣布最终公测将于8月17日开启。
  • 《Cosplay模拟器》Steam版可以解锁各种绅士场景。
  • 《守望先锋:归来》新英雄“扎克镇女王”技能介绍
  • 地域网络问题
  • 美剧《伞学院》官方宣布第四季将是该剧的最后一季。
  • 网飞《僵尸百分百》真人电影将于2023年上映。
  • 传闻:《猎天使魔女3》10月28日上映。
  • 《一方灵田》抢先评测:修仙加种田,你说有没有搞头?
  • Copyright2021-2026九狸游戏 粤ICP备2021101394号