PC单机游戏资源下载网站
当前位置 > 首页 > 文章列表 > 正文

任天堂Switch改良底座新专利曝光线缆接口可旋转

2022-03-01 23:52     来源 : 九狸游戏     编辑 : 九狸     浏览量 : 260

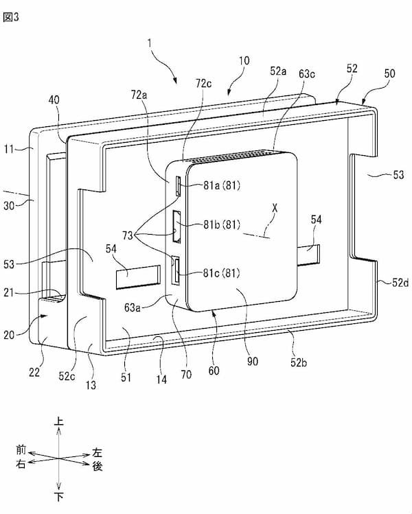
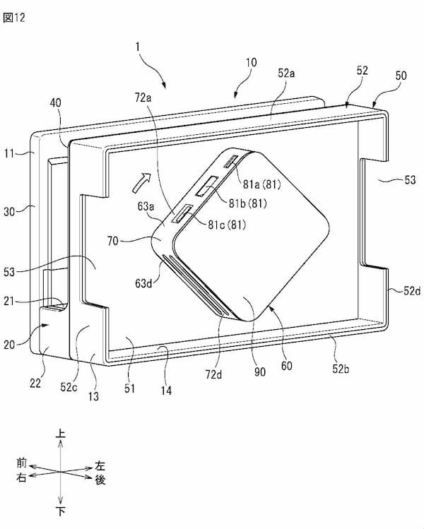
最近,任天堂的一项新专利亮相。根据插图,新专利是Switch的改进底座,附有可旋转的连接底座。官方表示,这项专利的目的是解决机器在连接各种线缆时不灵活的问题。

任天堂Switch改进版底座新专利曝光 线缆接口可旋转

任天堂Switch推出多年,各种设定都相当成熟。目前还不清楚该专利何时真机量产,也有玩家过于乐观推测可能是下一代Switch的设计。当然,如果这个设计真的实现了,那真的会让玩家切换线缆方便很多。

任天堂Switch改进版底座新专利曝光 线缆接口可旋转

任天堂Switch改进版底座新专利曝光 线缆接口可旋转

任天堂Switch改进版底座新专利曝光 线缆接口可旋转

任天堂Switch改进版底座新专利曝光 线缆接口可旋转

任天堂Switch改进版底座新专利曝光 线缆接口可旋转

热点资讯
  • 人气女B新游戏《终远的威尔修-ErroR:salvation-》主要人物介绍
  • 《使命召唤:战争地带2.0》常见问题的解决方案
  • 史泰龙主演美剧《塔尔萨之王》确认续订第二季。
  • 《公主与秽欲的献祭》已正式在STEAM平台上市!
  • 八方旅人2阵组合推荐,岐路旅人2最强职业组合攻略
  • 18岁的西班牙青年因有元宇宙犯罪而被捕的罪名随处可见
  • 交配3D动作RPG新作《怪兽宇宙》1月在线
  • 不买RTX3080的三大理由:性能过剩,矿卡太多,没钱买。
  • 《同级生Remake》评测:寻找重新拼凑的经典
  • RTX4090浮点运算性能首次突破100万亿次。
  • 漫画《式守同学不只可爱而已》终于完结星期六最后一章
  • 《建筑模拟器》新作于2022年9月20日公开发售。
  • 《明末:渊虚之羽》外媒评论:战斗令人惊叹,但叙述却沉闷
  • 游戏启动出错
  • 运行环境问题
  • Topic《按摩狂》重命名为《beat refle》第一个登录Steam
  • 游戏联机问题
  • 轻小说《为了在异世界也能摸毛茸茸而努力》动画发表
  • 解压出现错误
  • 哔哩哔哩电视大会员更名为超级大会员。每月35元支持多平台。
  • 伊藤润二新短篇集《幻怪地带》第二季将于12月7日上映。
  • 《热血街区电影版:极恶王续篇》公告将于9月9日在日本发布。
  • 《大多数》因游戏官方疑似被封,官方讨论组被关闭。
  • 工程师玩家打造迷你乐高版电脑,精致小巧,可玩性强。
  • 地域网络问题
  • 《进化Stage2》服务器几年后突然无缘无故重新上线。
  • 几款EA游戏不能在SteamDeck上运行,修复很快就来了。
  • 18禁游戏《魅魔》发布夏季更新和比基尼DLC
  • 《一方灵田》抢先评测:修仙加种田,你说有没有搞头?
  • 《机战30》评测:夹缝里找乳摇,我们老了还是机战老了?
  • 吃鸡游戏《超级人类》宣布最终公测将于8月17日开启。
  • 《Cosplay模拟器》Steam版可以解锁各种绅士场景。
  • 《守望先锋:归来》新英雄“扎克镇女王”技能介绍
  • 《高山冒险:仙境》评测:旋转,跳跃,但别用头着地
  • 美剧《伞学院》官方宣布第四季将是该剧的最后一季。
  • 网飞《僵尸百分百》真人电影将于2023年上映。
  • Copyright2021-2026九狸游戏 粤ICP备2021101394号
    0.526060s